La prochaine sportive électrique de Hyundai pourrait être équipée d'une boîte manuelle Hyundai a déposé un brevet pour un nouveau mécanisme de changement de vitesse qui peut fonctionner comme une boîte automatique traditionnelle ou comme une manuelle. Par Lucas Huaumé 20 Mai
Porsche a déposé un brevet pour des bandes de course dissimulées Porsche explique utiliser cette technologie pour indiquer le mode de conduite ou le niveau de charge de la voiture. Par Lucas Huaumé 11 Avr
Porsche développe une boîte de vitesses passant du manuel à l'automatique Le nouveau système shift-by-wire de Porsche offrirait aux conducteurs le meilleur des deux mondes. Par Emmanuel Rolland 18 Mar
Une nouvelle Ferrari spéciale pourrait être en préparation La Ferrari HC25 pourrait être une voiture unique conçue pour un client spécifique. Par Lucas Huaumé 2 Jan
Les nouvelles marques déposées par Toyota ouvrent la porte à une future sportive ? Toyota a laissé entendre le retour de cette voiture depuis des années. Par Lucas Huaumé 6 Déc 2025
Une future Ferrari pourrait être dotée d'un échappement latéral Ce n'est pas le premier brevet de l'entreprise pour des tuyaux latéraux. Par Emmanuel Rolland 22 Oct 2025
Porsche vient de breveter un moteur à 18 cylindres. Ça a l'air fou Le dernier brevet de Porsche pourrait prendre en charge 9, 15 voire 18 cylindres. Par Emmanuel Rolland 21 Oct 2025
Le logo d'Alpina vient de perdre un bout de son histoire BMW a signé un accord pour acquérir Alpina en 2022 et a dévoilé un nouveau logo pour la sous-marque ces derniers jours. Par Lucas Huaumé 28 Jul 2025
Stellantis obtient un brevet pour une boîte de vitesses électrique à trois rapports Stellantis a déposé un brevet pour une transmission à trois vitesses destinée aux véhicules électriques. Par Emmanuel Rolland 17 Jun 2025
Ferrari : deux nouvelles éditions spéciales en approche ? Le constructeur italien a déclaré qu'il dévoilerait six nouvelles voitures en 2025. Par Emmanuel Rolland 15 Jun 2025
Maserati envisagerait déjà le successeur de la MC20 Le constructeur italien a récemment déposé une marque pour la MC25. Par Lucas Huaumé 12 Jun 2025
GM vient de déposer une autre marque intéressante Avant la Camaro, il y avait la Panther. General Motors vient de déposer une demande de renouvellement de cette marque aux États-Unis. Par Lucas Huaumé 2 Jun 2025
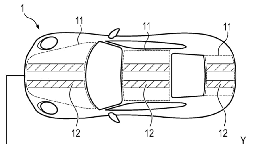
Voici comment Mazda construirait une Miata électrique Un brevet Mazda simplement intitulé « Voiture électrique » montre une voiture de type Miata avec des batteries empilées au milieu. Par Thibaud Comparot 29 Avr 2025
Ferrari développe une boîte de vitesses factice pour ses véhicules électriques Deux demandes de brevet récentes détaillent le système de moteur et de boîte de vitesses virtuels de Ferrari pour un véhicule électrique. Par Thibaud Comparot 26 Avr 2025
Toyota pourrait lancer une nouvelle Celica GR La dénomination GR Celica est récemment apparue au Brésil, alors que Celica est déjà une marque déposée dans le monde entier. Par Thibaud Comparot 13 Fév 2025
Ford veut que ses voitures soient équipées d'un système de sécurité "basé sur des drones" Un brevet parle de voitures surveillant l'avant de votre maison pendant qu'un drone patrouille à l'arrière... Par Nikola Jelicic 23 Oct 2024
Ford veut vous protéger contre le trafic "accidentel" de stupéfiants Un système de détection des drogues permet de s'assurer que personne ne dépose de drogues dans votre véhicule. Par Thibaud Comparot 2 Oct 2024
Porsche a développé l'idée géniale d'un moteur essence à six temps La structure brevetée du moteur à 6 temps comporte un vilebrequin spécial qui augmente sa puissance et son efficacité. Par Thibaud Comparot 18 Sep 2024
Et si Nissan passait la Z en mode "Warrior" ? La marque n'a pas caché sa volonté d'étendre la gamme Warrior en Australie Par Thibaud Comparot 16 Sep 2024
La nouvelle Dodge Charger pourrait être dotée d'une aéro active de style Pagani Les composants aérodynamiques actifs de la Dodge Charger peuvent être ajustés de manière automatique ou manuelle. Par Nikola Jelicic 20 Mai 2024
Mazda va déposer le nom et le logo "6e" en Europe pour une éventuelle berline électrique La berline Mazda6 va-t-elle revenir en version EV ? Une récente demande d'enregistrement de nom de modèle et de logo dans l'UE semble le suggérer. Par Thibaud Comparot 21 Mar 2024
La boîte de vitesses manuelle du véhicule électrique de Toyota pourrait comporter jusqu'à 14 rapports Enfin, la transmission de Fast and Furious dans la vraie vie que nous attendions tous. Par Colyne Papin 7 Déc 2023
Un nouveau dépôt de marque de Lexus laisse présager le retour de la LFA Le constructeur travaille sur le successeur tout électrique de la supercar. Par Lucas Huaumé 6 Oct 2023
Hyundai dépose une marque qui laisse entrevoir le concept car N74 Le N Vision 74 Concept de 2022 était équipé d'une pile à combustible à hydrogène qui alimentait une paire de moteurs électriques montés à l'arrière. Par Camille De Bastiani 22 Sep 2023